12V-2x6 12VHPWR 12V-2x6 12VHPWR 12V-2x6 12VHPWR 12V-2x6 12VHPWR 12V-2x6 12VHPWR 12V-2x6 12VHPWR 12V-2x6 12VHPWR 12V-2x6 12VHPWR 12V-2x6 12VHPWR 12V-2x6 12VHPWR 12V-2x6 12VHPWR

PCI-SIG have introduced a new PCIe CEM spec, Revision 5.1, Version 1.0, with an upgrade to the 12VHPWR connector to help improve conductivity of the interface. The new connector will be called "12V-2x6" instead of "12VHPWR" and the connector should be marked with a "H++".

From PCI-SIG document

In turn, this has now been included in the "Intel ATX 3.1" specification.

Intel document

Below are some drawings showing the new male and female connectors...

Changes to the PCB mounted connector:

Before:

12VHPWR connector

Note the size of the sideband portion of the connector and the length of the power and sense terminals.

After:

12V-2x6 connector

Note the width of the sense pin port is wider and taller. This should make insertion of the sideband portion of the connector easier.

The power terminals are now .15mm longer. This will increase the contact area between the terminals in the connector and plug. And since the sense terminals are .1mm shorter than the previous design; this should prevent the graphics card from powering up if the connector is not fully seated.

Changes to the plug housing:

As of this writing, this "improvement" was not submitted to the PCI-SIG and will not be part of the PCIe 5.1 specification. These drawings were obtained from a manufacturer with an "idea" on how to further improve the connection.

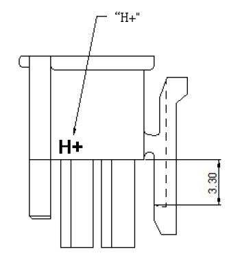
Before:

12VHPWR housing

The 12VHPWR housing is labeled "H+" and there is 3.3mm between the mating surface and the latching mechanism.

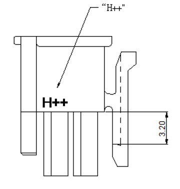
After:

12V-2x6 housing

The 12V-2x6 version is labeled "H++" and the distance between the mating surface and latching mechanism is reduced to 3.2mm. This will require the connector to be pushed in .1mm further than the previous version.

This change is not required to properly interface with the new connector on the GPU. The new 12V-2x6 connector on the GPU is backwards compatible with the existing cable used for all 12VHPWR cables in the market today.

Changes to the sense pins:

In addition to the change in connectors, the way the sense pins work for 150W graphics cards have changed from both sense pins open to the two sense pins being shorted to one another.

Before:

12VHPWR Sense Pins

Note here that a 150W graphics card will work with no sense pins terminated. This would use a cable similar to what the 3090Ti was using.

After:

12V-2x6 Sense Pins

This new specification should be seen in the PCI Express Card Electromechanical (CEM) Specification 5.1. Once approved, this will be part of a new ATX 3.1 specification from Intel.

Despite what has been reported, there are no other changes to the specification between PCIe 5.0 and 5.1.

What about backwards compatibility?

Fortunately, we already know that the 12VHPWR and 12V-2x6 are backwards and forwards compatible. How?

Because Nvidia is already shipping cards with the new connector! The 4070 uses a 12V-2x6 connector, and nobody even noticed. People are using this card today with their PSU's 12VHPWR cable and there have been zero reports of fitment issues.

Also, it needs to be pointed out that there is no change to the actual cable's connectors and terminals. For the new connectors to work on the GPU side, and in many cases the PSU side, the cable has to remain the same. Despite this, some marketeers are calling their cables "12V-2x6" despite being the same as a 12VHPWR cable. While some may say this is unscrupulous behavior to make consumers think that somehow a 12V-2x6 cable is more advanced than a 12VHPWR cable, I have to say that if the entire industry just stops using the 12VHPWR name on the cables and just uses 12V-2x6, there will be less confusion in the market.

Other changes/additions:

It was "misreported" that the new 12V-2x6 will be required to deliver more power than the 12VHPWR. That's really not the case. Essentially, the PCI-SIG elaborated on the potential power delivery. Section 9.1 of both PCIe 5.0 and 5.1 starts off the same:

"The 12VHPWR power connector delivers up to 55 A of continuous current to provide a maximum of 600 W of power to the Add-in Card on a 12 V Aux rail.

The connector performance requirements are as follows:

Power Pin Current Rating: (Excluding sideband contacts) 9.2 A per pin/position with a limit of a 30 °C T-Rise above ambient temperature conditions at +12 V VDC with all twelve contacts energized."

But then the 5.1 document elaborates more with:

"Due to variations in contact resistance, an individual pin may see more than 9.2A of current depending on cable contact resistance nonuniformity, but the total current for the assembly shall not exceed 55A RMS in each direction.

Cable assembly integrators must ensure that the assembly, including the 16 AWG wire and pins, meet the minimum current requirement and maximum temperature rise as specified above for their implementation."

12V-2x6 12VHPWR 12V-2x6 12VHPWR 12V-2x6 12VHPWR 12V-2x6 12VHPWR 12V-2x6 12VHPWR 12V-2x6 12VHPWR 12V-2x6 12VHPWR 12V-2x6 12VHPWR 12V-2x6 12VHPWR 12V-2x6 12VHPWR 12V-2x6 12VHPWR

12V-2x6 12VHPWR 12V-2x6 12VHPWR 12V-2x6 12VHPWR 12V-2x6 12VHPWR 12V-2x6 12VHPWR 12V-2x6 12VHPWR 12V-2x6 12VHPWR 12V-2x6 12VHPWR 12V-2x6 12VHPWR 12V-2x6 12VHPWR 12V-2x6 12VHPWR